Stock XJ Cherokee Tech. All XJ Non-modified/stock questions go here XJ (84-01)
All OEM related XJ specific tech. Examples, no start, general maintenance or anything that's stock.

Moderator Help for Downstream O2 Sensor Sticky

Thread Tools
 
Search this Thread
 
Old Jul 17, 2019 | 05:35 AM
  #1  
Dave51's Avatar
Thread Starter
CF Veteran
5 Year Member
Liked
 
Joined: Jan 2017
Posts: 3,425
Likes: 407
From: Connecticut
Year: 2000
Model: Cherokee (XJ)
Engine: 4.0
Default Moderator Help for Downstream O2 Sensor Sticky

Could you please edit the S2 sticky to read "For everybody except Dave51's XJ"?

https://www.cherokeeforum.com/f2/wha...answer-244489/

According to the FSM, mine DOES participate in adjusting the air-fuel ratios.

Downstream Sensors (California Emissions): Two downstream sensors are used (1/2 and 2/2). The downstream sensors are located in the exhaust downpipes just after the mini-catalytic convertors. The downstream is also used to determine the correct air fuel ratio. As the oxygen content changes at the downstream the PCM calculates how much air fuel ratio change is required. The PCM then looks at the upstream oxygen sensor voltage and changes fuel delivery until the upstream sensor voltage changes enough to correct the downstream sensor voltage (oxygen content). The downstream oxygen sensors also provide an input to determine mini-catalyst efficiency.
TIA.
Reply
Old Jul 17, 2019 | 05:45 AM
  #2  
Dave51's Avatar
Thread Starter
CF Veteran
5 Year Member
Liked
 
Joined: Jan 2017
Posts: 3,425
Likes: 407
From: Connecticut
Year: 2000
Model: Cherokee (XJ)
Engine: 4.0
Default

BTW, although I have a California Emssions, the above applies to non-California as well:

Downstream Sensor (Non-California Emissions): The downstream heated oxygen sensor (1/2 sensor) is located near the outlet end of the catalytic convertor. The downstream sensor is also used to determine the correct air fuel ratio. As the oxygen content changes at the downstream the PCM calculates how much air fuel ratio change is required. The PCM then looks at the upstream oxygen sensor voltage and changes fuel delivery until the upstream sensor voltage changes enough to correct the downstream sensor voltage (oxygen content). The downstream oxygen sensor also provides an input to determine catalyst efficiency.
Reply
Old Jul 17, 2019 | 09:49 AM
  #3  
vadim's Avatar
Junior Member
 
Joined: May 2018
Posts: 55
Likes: 7
From: Seattle
Year: 1999
Model: Cherokee (XJ)
Engine: 4.0
Default

Seems like this started in 2000. The 1999 FSM says:

The downstream heated oxygen sensor is located
near the outlet end of the catalytic convertor (Fig. 6).
The downstream heated oxygen sensor input is used
to detect catalytic convertor deterioration. As the convertor
deteriorates, the input from the downstream
sensor begins to match the upstream sensor input
except for a slight time delay. By comparing the
downstream heated oxygen sensor input to the input
from the upstream sensor, the PCM calculates catalytic
convertor efficiency.
Reply
Old Jul 17, 2019 | 07:54 PM
  #4  
Dave51's Avatar
Thread Starter
CF Veteran
5 Year Member
Liked
 
Joined: Jan 2017
Posts: 3,425
Likes: 407
From: Connecticut
Year: 2000
Model: Cherokee (XJ)
Engine: 4.0
Default

Originally Posted by vadim
Seems like this started in 2000. The 1999 FSM says:

The downstream heated oxygen sensor is located
near the outlet end of the catalytic convertor (Fig. 6).
The downstream heated oxygen sensor input is used
to detect catalytic convertor deterioration. As the convertor
deteriorates, the input from the downstream
sensor begins to match the upstream sensor input
except for a slight time delay. By comparing the
downstream heated oxygen sensor input to the input
from the upstream sensor, the PCM calculates catalytic
convertor efficiency.
There's a lot of debate, opinions, and "I know somebody" out there that claim the downstream sensor participated in helping determine air-fuel mixture since the beginning of OBDII.

Sample:

https://www.jeepforum.com/forum/f13/...ensor-1124945/

At any rate, it's easy enough to find out. Get an adjustable DC low voltage generator. Run 0.2, 0.6, and 0.8 volts respectively for the S2 signal. If the fuel trims change, that would confirm it has role.
Reply
Old Jul 18, 2019 | 04:31 AM
  #5  
Dave51's Avatar
Thread Starter
CF Veteran
5 Year Member
Liked
 
Joined: Jan 2017
Posts: 3,425
Likes: 407
From: Connecticut
Year: 2000
Model: Cherokee (XJ)
Engine: 4.0
Default

Originally Posted by vadim
Seems like this started in 2000. The 1999 FSM says:
IMO it started in 1999. Although the factory parts manual for 1997-1999 does not show a




catalytic converter, aftermarket manufacturers sell one, i.e. MagnaFlow Direct Fit Federal Catalytic Converter 24997 (this looks to be exclusive for 1999) so it would seem that there are at least some 99's with tricats.

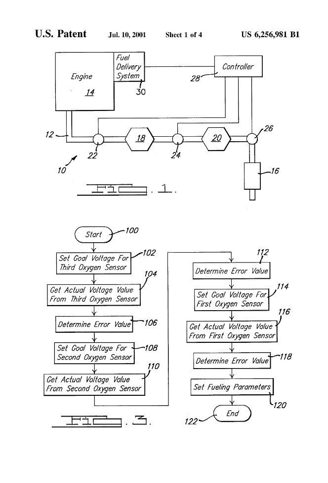
In 1999, Chrysler applied for a patent https://patents.google.com/patent/US6256981 Fuel control system with multiple oxygen sensors. In it a system composed of 2 catalytic converters and 3 oxygen sensors is discussed:

Similarly, by disposing an oxygen sensor downstream of the catalyst, the constituents of he exhaust gas exiting the catalyst can be learned. If the constituents are not within the desired range, the fuel-to-air ratio within the engine can be modified. Further, by placing a first oxygen sensor upstream of the catalyst and a second oxygen sensor downstream of the catalyst, the nature of the exhaust gas through the catalyst can be learned. As such, greater control of the fuel-to-air ratio within the engine may be exercised to modify the exhaust constituents.
I believe this is where the downstream oxygen sensor began taking on the added role of monitoring air-ratio (although in practice, the first catalytic converter turned into 2, and the third oxygen sensor never materialized).

Last edited by Dave51; Jul 18, 2019 at 05:51 AM.
Reply
Old Jul 18, 2019 | 07:40 AM
  #6  
awg's Avatar
awg
CF Veteran
5 Year Member
Liked
Loved
Community Favorite
 
Joined: Mar 2016
Posts: 3,816
Likes: 725
Year: 96
Model: Cherokee (XJ)
Engine: 4.0
Default

Originally Posted by Dave51
There's a lot of debate, opinions, and "I know somebody" out there that claim the downstream sensor participated in helping determine air-fuel mixture since the beginning of OBDII.

Sample:

https://www.jeepforum.com/forum/f13/...ensor-1124945/

At any rate, it's easy enough to find out. Get an adjustable DC low voltage generator. Run 0.2, 0.6, and 0.8 volts respectively for the S2 signal. If the fuel trims change, that would confirm it has role.
Interesting..FSM says one thing, another dudes swears its wrong, next dude swears its right

I was gonna nominate you to be the man to end the debate,,but you cant, having a later version

maybe I can..I just replaced the Cat and rear O2 on my '96, and have live data...wouldnt unplugging the rear O2 affect the Fuel Trim ? (if in fact it does)

(If the Short Term Fuel Trim does not change, that would pretty well answer the question ?)

I suspect the FSM is correct, and it does not, as this is purely a anti-pollution measure, not performance (as I understand it)

Comment, when I got this XJ, the rear O2 wires were cut, No CEL, but a P0138 code stored, wouldnt clear

Cat started rattling enough to **** me off, so I got another, and a rear O2

apart from sounding a lot better, I do feel it seems to be slightly more responsive, but not using less fuel
Reply
Old Jul 18, 2019 | 11:45 AM
  #7  
vadim's Avatar
Junior Member
 
Joined: May 2018
Posts: 55
Likes: 7
From: Seattle
Year: 1999
Model: Cherokee (XJ)
Engine: 4.0
Default

Originally Posted by Dave51
IMO it started in 1999. Although the factory parts manual for 1997-1999 does not show a




catalytic converter, aftermarket manufacturers sell one, i.e. MagnaFlow Direct Fit Federal Catalytic Converter 24997 (this looks to be exclusive for 1999) so it would seem that there are at least some 99's with tricats.

In 1999, Chrysler applied for a patent https://patents.google.com/patent/US6256981 Fuel control system with multiple oxygen sensors. In it a system composed of 2 catalytic converters and 3 oxygen sensors is discussed:



I believe this is where the downstream oxygen sensor began taking on the added role of monitoring air-ratio (although in practice, the first catalytic converter turned into 2, and the third oxygen sensor never materialized).
Mine is an early 1999, made in 11/98, and it has just one cat, and two O2 sensors. I know when the downstream sensor is unplugged it throws a code, but performance seems unaffected. I did not check the trims with the sensor unplugged.
Reply
Old Jul 18, 2019 | 12:50 PM
  #8  
Cummins93's Avatar
CF Veteran
10 Year Member
Liked
 
Joined: Mar 2015
Posts: 1,203
Likes: 155
From: Northern CT
Year: 1995
Model: Cherokee
Engine: Turbo 4.0
Default

My 96 fuel trims seem un affected by the downstream o2 sensor. I run without a cat and a spacer. No code is thrown for years with this set up and the I/M monitor is in the ready state. If I ever get around to it I will hook up my second o2 sensor output on the FIC to the downstream and offset voltage.
Reply
Old Jul 19, 2019 | 04:50 AM
  #9  
Dave51's Avatar
Thread Starter
CF Veteran
5 Year Member
Liked
 
Joined: Jan 2017
Posts: 3,425
Likes: 407
From: Connecticut
Year: 2000
Model: Cherokee (XJ)
Engine: 4.0
Default

I think the key is having tricats.

Would love to hear if anybody with a 99 has a tricat, and if so, it also has the elusive (or mythical) 99.5 0331 head.
Reply
Old Apr 20, 2021 | 01:26 PM
  #10  
robsjeep's Avatar
CF Veteran
5 Year Member
Liked
 
Joined: Dec 2017
Posts: 1,522
Likes: 412
From: San Mateo, CA
Year: 1990
Model: Cherokee (XJ)
Engine: 4.0 Renix, stock.
Default

Originally Posted by Dave51
BTW, although I have a California Emssions, the above applies to non-California as well:

The 2000 Factory Service Manual has odd wording if indeed they are trying to convey the fact that the down stream oxygen sensors are used to control mixture. It is a stretch to think a sensor whos input is altered by a catalyst is used to control mixture, while maintaining good drivability.
I suspect the manual has an error, would not be the first time a manual was in error. The wording is hideous, vague.
Reply
Old Apr 20, 2021 | 01:55 PM
  #11  
Dave51's Avatar
Thread Starter
CF Veteran
5 Year Member
Liked
 
Joined: Jan 2017
Posts: 3,425
Likes: 407
From: Connecticut
Year: 2000
Model: Cherokee (XJ)
Engine: 4.0
Default

Originally Posted by robsjeep
I suspect the manual has an error...
Well the evidence points quite to the contrary. Sullivan et al submitted the application for the patent in 1999 for the use of multiple oxygen sensors, including post-cat, to determine air-fuel mixture:

Similarly, by disposing an oxygen sensor downstream of the catalyst, the constituents of he exhaust gas exiting the catalyst can be learned. If the constituents are not within the desired range, the fuel-to-air ratio within the engine can be modified. Further, by placing a first oxygen sensor upstream of the catalyst and a second oxygen sensor downstream of the catalyst, the nature of the exhaust gas through the catalyst can be learned. As such, greater control of the fuel-to-air ratio within the engine may be exercised to modify the exhaust constituents.

Reply
Old Apr 20, 2021 | 02:12 PM
  #12  
robsjeep's Avatar
CF Veteran
5 Year Member
Liked
 
Joined: Dec 2017
Posts: 1,522
Likes: 412
From: San Mateo, CA
Year: 1990
Model: Cherokee (XJ)
Engine: 4.0 Renix, stock.
Default

Yet the manual still does not say the down stream sensors control the engine. The info provided that the down stream sensor they allow the ecu to "learn". This learning sets targets for the upstream sensor. Thus the final control is the upstream sensor. down stream sensors create a learned map by which the ecu uses to control the fuel so as to get the desired result from the upstream sensor.
Reply
Old Apr 20, 2021 | 05:44 PM
  #13  
Dave51's Avatar
Thread Starter
CF Veteran
5 Year Member
Liked
 
Joined: Jan 2017
Posts: 3,425
Likes: 407
From: Connecticut
Year: 2000
Model: Cherokee (XJ)
Engine: 4.0
Default

Originally Posted by robsjeep
Yet the manual still does not say the down stream sensors control the engine.
Well, I hate to resort to the "Does so!" style of debate, but "Does so!" Again, the manual specifically states:
The downstream sensor is also used to determine the correct air fuel ratio.
The upstream sensor is a tool, not a controller.

Referring back to the patent (and admittedly, what exactly ends up in the ECU is unknown, and there's a LOT of stuff going on):
The difference between the goal voltage and actual voltage is used to modulate the pulse width of a signal sent to the fuel injectors of an engine such that the amount of fuel delivered by the fuel injectors is modified. Accordingly, the fuel-to-air ratio in the engine is changed and the amount of nitrous oxide passing through the exhaust system is controlled.
which makes this algorithm primarily emissions-oriented.
Reply
Related Topics
Thread
Thread Starter
Forum
Replies
Last Post
adrian.church
Stock XJ Cherokee Tech. All XJ Non-modified/stock questions go here
2
Sep 19, 2017 01:12 PM
Slimgoaty
Stock XJ Cherokee Tech. All XJ Non-modified/stock questions go here
18
Jan 9, 2012 02:03 PM
cornhusker85
Stock XJ Cherokee Tech. All XJ Non-modified/stock questions go here
21
Jul 29, 2011 02:37 AM
SteelBlue99
Stock XJ Cherokee Tech. All XJ Non-modified/stock questions go here
6
Mar 14, 2011 12:59 PM
djb383
Stock XJ Cherokee Tech. All XJ Non-modified/stock questions go here
3
Dec 31, 2009 09:24 AM

Currently Active Users Viewing This Thread: 1 (0 members and 1 guests)
 



All times are GMT -5. The time now is 07:38 AM.