Part name??? Connects to heater control switch

Subscribe
Aug 5, 2021 | 09:31 PM
  #1  
Does anyone know the name of the part that the heater control switch plugs into? It’s the burnt brown part with the 4 wires coming out of it

Reply 0
Aug 6, 2021 | 09:27 AM
  #2  
That connector is part of the harness and not available as a Jeep separate part. However, you can find suitable ones on sites like McMasters. I don't know which is the correct one. You could also simply get some crimp terminals and plug the directly onto the switch. Use heat shrink tubing to insulate the ends.
Reply 1
Aug 6, 2021 | 09:41 AM
  #3  
Blower motor switch harness connector, often sold as a "pigtail" which is the connector with pre-wired with about 6" of wire sticking out that you splice into the harness. Might be able to find it on RockAuto. You can also cut the connector off and just use spade connectors on each individual wire.
Reply 0
Aug 6, 2021 | 09:57 AM
  #4  
Quote: Blower motor switch harness connector, often sold as a "pigtail" which is the connector with pre-wired with about 6" of wire sticking out that you splice into the harness. Might be able to find it on RockAuto. You can also cut the connector off and just use spade connectors on each individual wire.
There’s 5 prongs and only 4 wires (the hot, low, med, high) do you know how to wire that up since there’s no ground as a 5th?
Reply 0
Aug 6, 2021 | 01:46 PM
  #5  
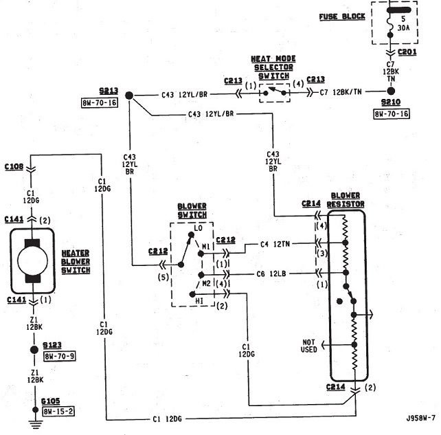
Three of those wires end up going to the blower resistor. I would check it and the blower motor.

I don't have a '96 FSM but the '95 shows the Yellow/Brown as the hot supply on Pin #5. Pin #1 is the Mid 1 speed and is Tan. This goes to Pin #3 on the resistor. Pin #4 is Light Blue and goes to Pin #1 on the resistor (mid 2). Pin #2 is Dark Green and goes to Pin #1 on the resistor (high). They are all 12g wires since they carry the current. Pin #2 on the resistor goes to the blower. This is all fed from a 30a fuse.

"BLOWER MOTOR
In the RUN or ACCESSORY position, the ignition switch connects circuit A1 from fuse 6 in the PDC to circuit A48. Circuit A48 supplies battery voltage to fuse 5 in the fuse block. Fuse 5 supplies power to the A/C-Heater control switch on circuit C7.

Circuit C43 from the A/C-heater switch splices to supply voltage to the blower motor switch and the blower motor resistor block. The blower motor switch sets blower motor speed to HIGH, M1, M2, or LOW.

When the blower motor switch is in the LOW position, circuit C43 from the A/C-Heater switch supplies voltage to the resistor block. Voltage does not pass through the blower motor switch in the LOW position In the M1 position, the blower motor switch supplies voltage to the resistor block on circuit C4. From circuit C4, voltage passes through three resistors in the resistor block to the blower motor on circuit C1.

In the M2 position, the blower motor supplies voltage to the resistor block on circuit C6. From circuit C6 voltage flows through two resistors to the blower motor on circuit C1.

In the HIGH position, the blower motor switch connects directly to the blower motor on circuit C1. Voltage does not pass through the resistor block.

Circuit Z1 provides ground for the blower motor.


Reply 1
Aug 6, 2021 | 04:34 PM
  #6  
I think this is the connector. Looks slightly different though,
https://www.rockauto.com/en/catalog/...onnector,15767


Reply 1
Subscribe
Currently Active Users (1)